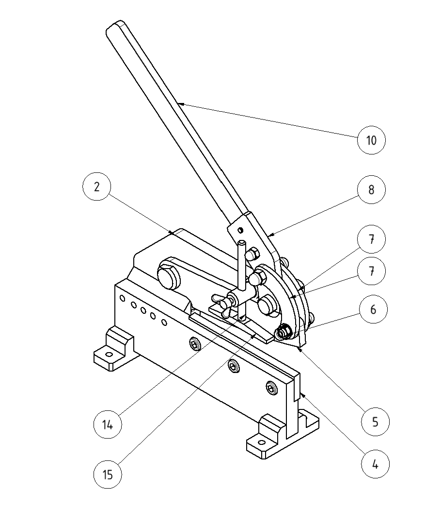
Welche Bauteile sind beim Schneidvorgang fest und welche müssen sich bewegen? Sortieren Sie: 01.02 B
Abschlussbedingungen
01.02 Bewegliche und unbewegliche Bauteile unterscheiden
Bringen Sie die Bauteile der Hebelschere in eine sinnvolle Reihenfolge.
Unterscheiden Sie dabei, welche Bauteile unbeweglich und welche Bauteile beweglich sind.
Sortieren Sie alle Bauteile nach Positionsnummern. Beginnen Sie mit der kleinsten.

Herausgeber: Land Baden-Württemberg, vertreten durch das Zentrum für Schulqualität und Lehrerbildung (ZSL), Heilbronner Straße 314, 70469 Stuttgart, Telefon 0711/21859-0, poststelle@zsl.kv.bwl.de
Verantwortlich im Sinne des Presserechts: ZSL, Irmgard Mühlhuber, Ref. 24 "Digitalisierung, Medienbildung", Heilbronner Straße 314, 70469 Stuttgart, Telefon 0711/21859-240, digitalebildung@zsl.kv.bwl.de
Kontakt zum/r behördlichen Datenschutzbeauftragte/n: datenschutz@zsl.kv.bwl.de
