Montageprinzipien 01.07 B
Nach welchen Grundprinzipien sollten Sie bei der Montage vorgehen? 01.07
Dieser Auszug aus dem Funktionsprinzip des Scherschneiden kann Ihnen bei der Lösung helfen. Finden Sie drei Montageanforderungen und markieren Sie diese.
Auszug aus Funktionsprinzip Scherschneiden:
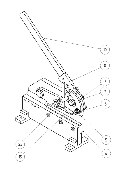
… Hebelscheren haben zwei Schneiden. Jede Schneide hat einen Schneidkeil. Die untere Schneide ist bei der Hebelschere fest. Die obere Schneide bewegt sich während des Schneidvorgangs an der festen Schneide vorbei. Obermesser und Untermessen laufen parallel aneinander vorbei.
Wenn die Schneiden richtig montiert sind, berühren die Seitenflächen das Schneidgut nicht. Die Freifläche der Schneiden steht nicht senkrecht, sondern ist etwa 2–30 nach außen geneigt.
Würden die beiden Schneiden genau aufeinanderliegen, würden sie sich beim Schneidvorgang sehr wahrscheinlich beschädigen. Deshalb werden die beiden Schneiden (Ober- und Untermesser) mit einem kleinen Abstand zueinander, dem Schneidspalt, montiert. Ein einwandfreies Schneiden ist nur mit einem richtig eingestellten Schneidspalt möglich.


