1. Die Funktion der Hebelschere analysieren
-
1. Die Funktion der Hebelschere analysieren
-
Hier können Sie Ihren Lernfortschritt dokumentieren.
-
Wie gut kennen Sie sich mit Anordnungsplänen aus?
Klicken Sie auf den Snack, um zu sehen, was Sie schon wissen.
-
Funktionsanalyse durchführen (Lernschritt 1)
Um die Einzelteile der Hebelschere zu einem einwandfrei funktionierenden Produkt zusammenzufügen, ist es wichtig, die genaue Funktion der Hebelschere zu verstehen.
Denken Sie an einen Gliedermaßstab, überlegen Sie sich, wie man damit umgeht und was man damit tun kann.
Das ist eine Anwendungsmöglichkeit:
oder auch so:
MOV_1321.mp4?time=1607111058283
Was meinen Sie? Ist das die eigentliche Funktion des Gliedermaßstabes?
Vielleicht nicht die optimale Funktion, aber es klappt!
Eigentlich sollten Gegenstände so eingesetzt werden, wie sie vorgesehen sind.
________________________________________________________________________________________________
-
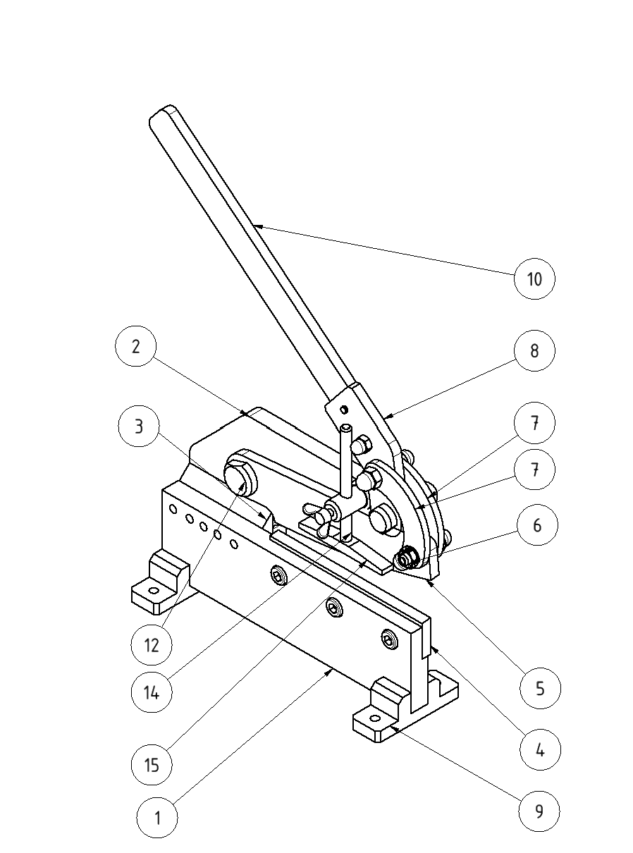
Drucken Sie sich die Bildvorlage aus und markieren Sie sich die Bauteile, die für das Schneiden der Schere verantwortlich sind. Bitte die Bauteile, die fest sind, mit einer Farbe markieren, die Bauteile, die sich bewegen, mit einer anderen Farbe.
____________________________________________________________________________________________________________________
-
-
Lernschritt 01.02
Austausch in der wachsenden Gruppe
Welche grundlegenden Funktionen haben die Bauteile?
Gibt es bewegliche Bauteile? Wenn ja, wie bewegen sich diese?
Wie wird die Schnittbewegung ausgeführt?Überlegen Sie zunächst alleine 5`
Tauschen Sie sich zu zweit aus 5`
Besprechen Sie Ihre Erkenntnisse zu dritt 5´
-
Lernschritt 01.03
-
Arbeitsauftrag 01.03
Spannend ist jetzt, wie funktioniert diese Hebelschere genau? Sie haben sicher schon eine Idee.
Sortieren Sie die vorgegebenen Bauteile in eine sinnvolle Reihenfolge. Sehen Sie sich dazu das Video an und bearbeiten Sie die nächste Aufgabe.
-
Arbeitsauftrag 01.03
Spannend ist jetzt, wie funktioniert diese Hebelschere genau? Sie haben sicher schon eine Idee.
Sortieren Sie die vorgegebenen Bauteile in eine sinnvolle Reihenfolge. Sehen Sie sich dazu das Video an und bearbeiten Sie die nächste Aufgabe.
-
Arbeitsauftrag 01.03
Spannend ist jetzt, wie funktioniert diese Hebelschere genau? Sie haben sicher schon eine Idee.
Sortieren Sie die zuvor gefundenen Bauteile in eine sinnvolle Reihenfolge.
Verschriftlichen Sie den Ablauf, wenn Sie die richtige Reihenfolge gefunden haben.
Überlegen Sie einen idealen Ablaufzyklus - vom Einlegen des zu trennenden Materials bis zum Herausnehmen der geschnittenen Teile und des Abfalls. Benennen Sie die einzelnen Schritte. Entwickeln Sie einen klaren Ablauf. Verwenden Sie dazu Fachbegriffe, die Bezeichnungen und Nummern aus der Stückliste. Schreiben Sie eine ausführliche Funktionsbeschreibung als Beiblatt für einen Benutzer, der diese Hebelschere zum ersten Mal sicher anwendet. Sicherheitshinweise dazu nicht vergessen.Bearbeiten Sie dazu Arbeitsauftrag 1.3C und geben Sie diesen wieder ab.
Hier geht es zum Abgabeordner.
Vergleichen Sie im Anschluss in der Kleingruppe Ihre Arbeitsergebnisse.

-
Funktionsanalyse Video
Schauen Sie sich das Video genau an.
Tauschen Sie sich im Anschluss über BBB in Kleingruppen über die Funktion der Hebelschere aus.
Wenn Sie noch Fragen haben, sprechen Sie Ihre Lehrer*in an.
-
Überlegen Sie sich zu den folgenden Fragen die möglichen Antworten.
Benutzen Sie den Anordnungsplan sowie Stückliste und ggf. auch das Tabellenbuch.
Viel Erfolg beim Bearbeiten.
-